不銹鋼防腐玻璃轉子流量計與介質接觸的零部件材質,玻管為高硼硅質玻璃,基座、浮子和導桿由聚四氟乙稀襯包,密封圈采用F46隔膜圈。 公稱通經≤10mm的防腐型流量計,基座材質為不銹鋼,密封件材質為氟橡膠。玻璃轉子流量計主要由一根自下而上擴大的錐形玻管和一只隨流體流量大小上下移動的不銹鋼浮子組成。流體自下而上流經錐管時,流體動能在不銹鋼浮子上產生的升力和流體的浮力使不銹鋼浮子上升,當升力與浮力之和等于不銹鋼浮子自身重力時,不銹鋼浮子處于平衡,穩定在某一高度位置上,錐管上的刻度指示流體的流量值。該產品**應用于化工、石油、輕工、醫藥、環保、食品及計量測試、科學研究等部門,測量單相非脈動流體(液體或氣體)的流量。
**應用于化工、石油、輕工、醫藥、環保、食品及計量測試、科學研究等部門,測量單相非脈動流體(液體或氣體)的流量。
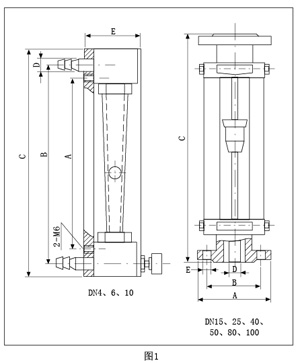
| 外形及安裝尺寸 | |
![]() | ![]() |
不銹鋼防腐玻璃轉子流量計技術參數:
1.通徑:DN2~100mm;
2.測量范圍:水 (20℃):1L/h~100m3/h、氣 (101325Pa,20℃):16L/h~3000m3/h;
3.量程比:10∶1
4.精度等級:1.5級,2.5級,4級,
5.公稱壓力:DN4~10 1.0MPa、DN15~50 0.6MPa、DN80~100 0.4MPa;
6.工作溫度:≤120℃
7.連接方式:軟管、金屬管、法蘭(GB/T9119-2000)
8.材質說明:法蘭、浮子、導桿、支承板及螺栓等均為不銹鋼304(1Cr18Ni9Ti),型號為LZB-B。
接液材質如需選用316,則型號為LZB-Bo,需定做。
如需不銹鋼內襯PTFE,則型號為LZB-BF(或BoF),需定做。
流量范圍表:
通徑 (mm) | 測量范圍 | 椎管長度 (mm) | |
水 20℃ | 空 氣 20℃,10132SPa | ||
DN2 | 0.4~4ml/min、0.6~6ml/min、 1.0~10ml/min、1.6、16ml/min | 6~60ml/min、10~100ml/min、 16~160ml/min、25~250ml/min | 160 |
DN3 | 2.5~25ml/min、4~40ml/min、 6~60ml/min、10~100ml/min | 40~400ml/min、60~600ml/min、 100~1000ml/min、160~1600ml/min | |
DN4 | 1~10L/h、1.6~16L/h、2.5~25L/h | 16~160L/h、25~250L/h、40~400L/h | |
DN6 | 2.5~25L/h、4~40L/h、6~60L/h | 40~400L/h、60~600L/h、100~1000L/h | |
DN10 | 6~60L/h、10~100L/h、 16~160L/h | 100~1000L/h、160~1600L/h、 250~2500L/h | |
DN15 | 16~160L/h、25~250L/h、40~400L/h | 0.25~2.5m3/h、0.4~4m3/h、0.6~6m3/h | 350 |
DN25 | 40~400L/h、60~600L/h、100~1000L/h | 1~10)m3/h、1.6~16m3/h、2.5~25m3/h | |
DN40 | 160~1600L/h、250~2500L/h | 4~40m3/h、6~60m3/h | 430 |
DN50 | 0.4~4m3/h、0.6~6m3/h | 10~100m3/h、16~160m3/h | 450 |
DN80 | 1~10m3/h、1.6、16m3/h | 50~250m3/h、80~400)m3/h | 500 |
零部件材質

不銹鋼防腐玻璃轉子流量計型號規格及技術參數

全不銹鋼型
法蘭、浮子、導桿、支承板及螺栓等均為不銹鋼304(1Cr18Ni9Ti),型號為JG-LZB-( )B。
接液材質如需選用316,則型號為JG-LZB-( )Bo,需定做。
如需不銹鋼內襯PTFE,則型號為JG-LZB-( )BF(或BoF),需定做。
選用方法:
1. 測量的對象。即測量介質種類、壓力大小、化學性質。如液體介質、氣體介質,對具腐蝕性的介質則應選擇耐腐流量計。
2. 流量計本身性能。上述條件確定后一般講,若價格沒有大的變化,可優先選用針閥置于流量計上部的;有較大流通孔的,是直接流量刻度的;結構簡單的;外部尺寸較小的等等。如是小流量范圍,則可選用球浮子式,因它測量時穩定、不易積塵、精度較高、互換性好。
3. 根據價格選用。一般講,精度高的價格高。要根據測量目的選用儀表精度等級,如只須控制測量介質通過量,經試運行調整,以后需始終穩定這個通過量,那么精度就是次要的。






